A Sony registrou uma patente de IA que poderia assumir o controle do jogo caso os jogadores fiquem presos em determinada parte.
- EA desligará os servidores de Anthem na próxima semana
- Nvidia pode relançar a RTX 3060 no primeiro trimestre de 2026
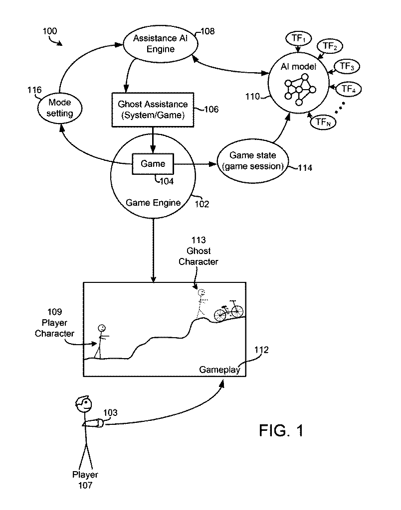
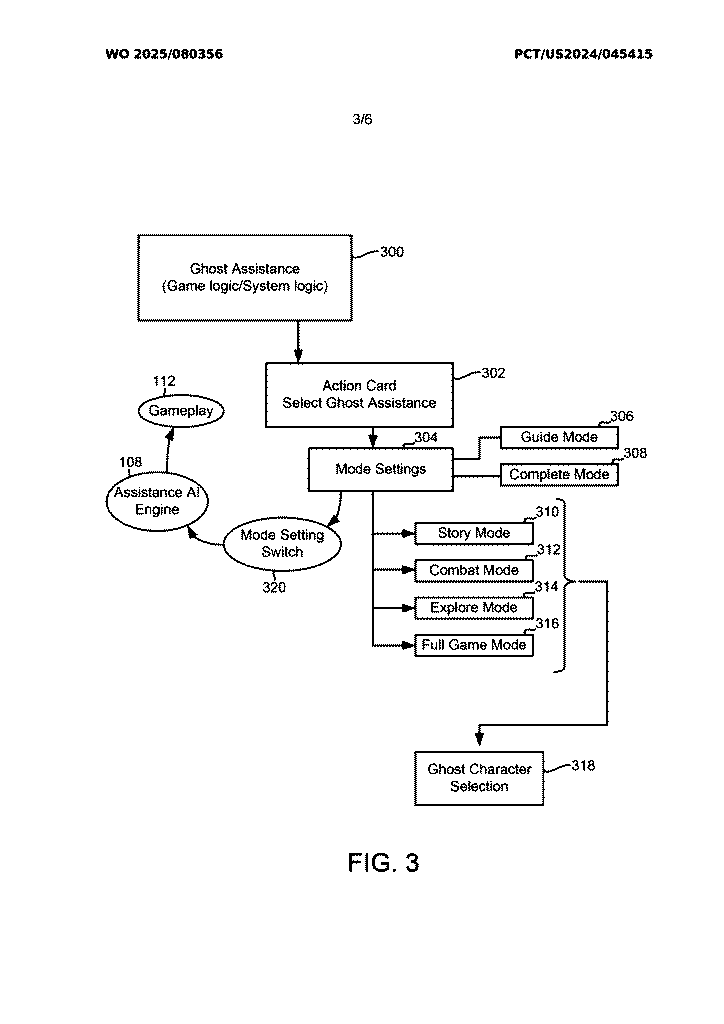
As empresas estão sempre patenteando tecnologias que talvez nunca saiam do papel, mas uma patente registrada em 2024 pela Sony chamou a atenção. De acordo com o VGC, o ‘Ghost Player’ permitiria que os jogadores invocassem uma versão “fantasma” do personagem, gerada por IA, capaz de resolver trechos específicos da fase ou mesmo completá-la por inteiro.


A patente menciona dois modos, sendo eles o “Modo Guia” e o “Modo Completo”. O “Modo Guia” apresentaria o personagem fantasma controlado por IA apenas demonstrando a solução, antes que o jogador a resolva sozinho. Já no “Modo Completo” a IA simplesmente assumiria o controle e completaria a seção automaticamente.
O modelo de IA seria treinado com gravações já existentes do jogo, não sendo necessário que um desenvolvedor crie um personagem pré-gravado.
Quer pagar mais barato em jogos, consoles e acessórios? Siga o nosso canal de promoções no WhatsApp, Instagram ou Telegram.
Quer pagar mais barato em jogos, consoles e acessórios? Siga o nosso canal de promoções no WhatsApp, Telegram e Instagram.